0 руб.
Оформить заказ- Производитель: Swep
- Модель: Swep B16-20
- Наличие: Есть в наличии
Swep B16-20 — паяный пластинчатый теплообменник, разработанный специально для однофазных систем теплоснабжения, включая центральные тепловые пункты, радиаторные контуры и системы горячего водоснабжения с широким диапазоном мощностей. Также отлично подходит для охлаждения масла в промышленных установках.
Описание
Компания SWEP — мировой лидер в производстве паяных пластинчатых теплообменников. Её оборудование отличается компактностью, надёжностью и высокой тепловой эффективностью, что обеспечивает его применение в самых разных сферах:
- Нагрев и охлаждение в промышленных и бытовых системах;
- Использование в частных инженерных решениях и крупных промышленных комплексах;
- Применение в системах кондиционирования и тепловых насосов.
Теплообменники SWEP проектируются с учётом максимальной экономии энергии, материалов и монтажного пространства — подход, который давно стал отраслевым стандартом благодаря пионерской деятельности компании.
Модель B16 оптимизирована для однофазных теплоносителей и идеально подходит для задач с переменной нагрузкой, характерных для районных тепловых сетей и ГВС. Благодаря сбалансированной гидравлике и эффективной геометрии каналов, прибор обеспечивает стабильную работу даже при колебаниях расхода и температуры.
ТЕХНИЧЕСКИЕ ПАРАМЕТРЫ И ГАБАРИТЫ ТЕПЛООБМЕННОГО УСТРОЙСТВА SWEP B16

ОСНОВНЫЕ ТЕХНИЧЕСКИЕ ХАРАКТЕРИСТИКИ
| Модель | B16 |
| Объем канала, дм³ | 0,082 |
| Макс. объемный расход (м³/ч) | 16,9 |
| Высота пакета пластин*, мм | 4 + (2,24 * n) |
| Общий вес*, кг | 1,48 + (0,12 * n) |
| Материал каналообразующей пластины | Нержавеющая сталь |
| Материал припоя | Медь |
| Макс. кол-во пластин | 140 |
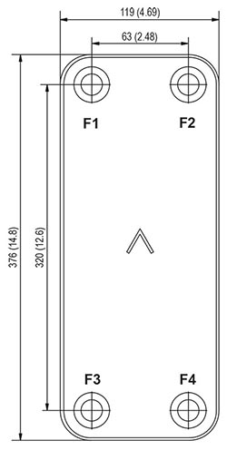
| Размер отверстия F1/P1, мм | 33 |
| Размер отверстия F2/P2, мм | 33 |
| Размер отверстия F3/P3, мм | 33 |
| Размер отверстия F4/P4, мм | 33 |
| Классы давления | S стандартное, измеренное согласно EN 13345 |
* n — количество пластин.
ЭКСПЛУАТАЦИОННЫЕ ХАРАКТЕРИСТИКИ
| Макс. рабочее давление, бар | 35 |
| Диапазон температур, °C | –196 ÷ 225 |
СТРУКТУРА И ПРИНЦИП ДЕЙСТВИЯ
Паяный пластинчатый теплообменник Swep B16-20 состоит из блока гофрированных нержавеющих пластин, соединённых методом вакуумной пайки. В точках соприкосновения формируются прочные медные швы, создающие два изолированных контура сложной конфигурации.
Теплоносители с разными температурами протекают по чередующимся каналам в противотоке, что обеспечивает максимальную эффективность теплопередачи. Отсутствие уплотнений и рамной конструкции делает устройство герметичным, компактным и устойчивым к вибрациям и перепадам давления.
СТРУКТУРА ПАЯНОГО ПЛАСТИНЧАТОГО ТЕПЛООБМЕННОГО УСТРОЙСТВА

Примеры присоединений

Интернет-магазин phe-shop.ru предлагает приобрести паяный пластинчатый теплообменник Swep B16-20 по цене завода-изготовителя с бесплатной доставкой. Наши инженеры помогут подобрать оптимальную конфигурацию под ваши параметры: тип теплоносителя, температурный режим, рабочее давление и требуемую тепловую мощность.
Нет отзывов о данном товаре.